Si de repente el interruptor de la mezcladora comenzó a
El equipo de plomería para recibir tratamiento de agua generalmente se divide en dos tipos. En el primer caso, se llena un tanque de baño especial, y en el segundo, el proceso de lavado se lleva a cabo mediante la aplicación de pequeños chorros de agua directamente al cuerpo. Si es la segunda opción que se usa, tarde o temprano será necesario reparar el interruptor de la ducha en la batidora, ya que a menudo falla.

Proceso de desmontaje
La determinación de la causa de la falla se realiza solo después de una inspección preliminar de los componentes del producto. A partir de esta etapa, comienza la instrucción adjunta al producto, que incluye el proceso de eliminación del mecanismo principal.
Durante el trabajo las operaciones deben realizarse en un orden determinado:
- En primer lugar, se quita una tapa especial del asa que realiza funciones puramente decorativas.. Debajo se encuentra el tornillo de montaje, que se desenrosca con un destornillador.
- El mango está cuidadosamente desmontado.. Ante los ojos debe aparecer el cuadro o cualquier otro mecanismo. Un cartucho excéntrico o especial se puede instalar en el interior.
- El dispositivo se retira del agujero. Si hay una caja de eje o un contenedor separado, entonces el mecanismo se quita fácilmente por completo. Para eliminar el excéntrico, deberá realizar las operaciones adicionales que se describen a continuación.
- Si el interruptor de la ducha de la batidora no se pudo quitar completamente, entonces la tuerca del surtidor debe destornillarse para retirarla.. Fragmento de cuerpo extraíble se aleja suavemente.

Nota Si es necesario reemplazar el interruptor de la ducha en la batidora, para no equivocarse al elegir un elemento, se recomienda llevar el mecanismo de disparo a la tienda.
Mal funcionamiento principal.
Vale la pena elaborar la lista de posibles problemas que surgen durante el funcionamiento de estos dispositivos. Todos ellos son bastante realistas para hacerlo usted mismo, sin atraer especialistas. El precio de los componentes principales es bajo, por lo que el trabajo de reparación no costará tanto como podría parecer inicialmente.
La aparición de manchas.
En algunos casos, el interruptor de la ducha fluye en el mezclador, lo que eventualmente lleva a la aparición de óxido en los accesorios de plomería. Por lo general, la causa de un mal funcionamiento es una caja de relleno, que con el tiempo puede dañarse. El problema se resuelve reemplazándolo.

A continuación se muestra la reparación de un interruptor de ducha con botón pulsador en el mezclador:
- El trabajo comienza con la superposición de las válvulas y la desconexión de la boquilla y la manguera flexible.
- El botón se retira del vástago y el revestimiento no puede dañarse.
- El adaptador se retira utilizando una varilla de acero.
- La válvula con el vástago se retira, después de lo cual cambia el sello de aceite dañado.
- En la última etapa de la asamblea.
Flujo incontrolado de agua.
A veces hay un flujo simultáneo de fluido directamente en el pico del grifo y el cabezal de la ducha. Tal fenómeno es característico de los mecanismos de bobina cuando la junta se desgasta. Reemplazar el elemento de sellado proporciona la capacidad de eliminar completamente este tipo de mal funcionamiento.

Si la junta superior ha caído en mal estado, la reparación del interruptor-mezclador + el caño de la ducha no requiere un desmontaje completo. Basta con eliminar la capa de goma con una llave fina. Los sellos separados no se venden por separado, pero los anillos de repuesto generalmente se suministran en el kit.
Reemplazar la junta con un mecanismo de botón pulsador será ligeramente diferente. Durante el trabajo, el suministro de agua se cierra y se retira el pico.
Directamente en el orificio del adaptador se inserta hexagonal, lo que le permite desatornillar el perno de retención. Se retira el botón, se desenrosca el tornillo y luego se saca la válvula de plástico.

Puntos importantes
Los productos comprados de este tipo servirán por mucho tiempo solo si hay certificados de calidad. Al elegir, no debe ahorrar mucho, porque en el futuro puede gastar aún más, realizando reparaciones frecuentes. El ahorro de recursos financieros permite una operación cuidadosa del producto.
Cuando se detecta un mal funcionamiento debido al desgaste o daño del anillo de sellado, no es necesario ir a la tienda a comprar. Elementos similares se pueden hacer de forma independiente utilizando un tubo de goma.
Será necesario llevar a cabo el trabajo de desmontaje en cualquier caso, independientemente de la causa de la avería, por lo que es mejor buscar instrucciones que normalmente vienen con el modelo de mezclador que se está comprando.
Principales tipos de mecanismos.
Dependiendo del principio de funcionamiento, estos dispositivos se pueden dividir en varios tipos. La forma de llevar a cabo las reparaciones dependerá en gran medida de qué elemento se instale en el mezclador.
A continuación se muestran las principales opciones de mecanismos para cambiar de modo.

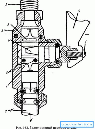
- El mecanismo de la bobina es simple.. Se encuentra más comúnmente en productos de tipo válvula. Entre las dos cajas de grúas, generalmente hay un mango especial hecho de metal o plástico. Para garantizar la estanqueidad, tales dispositivos están equipados con juntas de goma de cierta forma.
- El interruptor de corcho prácticamente no se utiliza en la actualidad.. Se puede distinguir por un mango largo, que se encuentra en la parte central del dispositivo. El componente principal es un corcho con una muesca. Cuando se realiza la rotación, la cavidad se alinea con las aberturas de entrada y salida.
- El dispositivo de botón puede estar en posición vertical y horizontal.. Esta es la versión clásica para mezcladores monomando. Para hacer la transición, simplemente levante la manija hacia arriba. Bajo la acción de la presión del agua se fija automáticamente el flujo.
- Cartucho analógico es fiable y duradero.. Al realizar reparaciones, el contenedor se cambia por completo, ya que encontrar piezas adecuadas es bastante problemático.

Atencion Especialmente popular es el mezclador con el interruptor de modo cerámico. Las placas especiales son de alta calidad, gracias a las cuales el dispositivo funciona durante mucho tiempo.
Parte final
El texto y la información gráfica presentada anteriormente permiten comprender qué hacer si se rompe el interruptor de la ducha del baño. Sin embargo, antes de comenzar a trabajar, también se recomienda examinar cuidadosamente otra fuente de información: el video de este artículo.
Entonces será mucho más fácil llevar a cabo actividades de reparación.