Cartucho para el mezclador: características de diseño y
En este artículo veremos cómo funciona el cartucho para el mezclador de 40 mm. Este elemento es la parte más importante de los grifos más utilizados hasta la fecha instalados en sus cocinas y baños. La comprensión de su dispositivo le permitirá evitar los errores típicos en la operación de un equipo de plomería tan demandado.


Tipos de construcción según el mecanismo de mezcla.
Existen los siguientes tipos de cartuchos para mezcladores: bola y disco. El segundo es mucho más común, lo que no afecta el costo o la confiabilidad del producto. Las características técnicas principales de ambos modelos son casi iguales, pero para la fabricación con una bola hueca se requiere una licencia especial, que es muy difícil de adquirir.
Con la producción de discos en el plano legal, la situación es mucho más simple. Pero vamos directamente a su dispositivo.
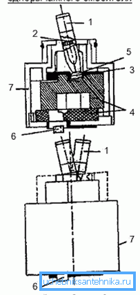
La estructura del cartucho esférico.

| Designación en la figura. | Nombre |
| 3 | Varilla de ajuste |
| 4 | Bola hueca para mezclar agua. |
| 5 | Silla de goma |
| 6 | Anillo de ajuste |
| 7 | Balón de bola |
| 8 | Manguito regulador |
| 9 | Entrada de fluido |
| 10 | Liberación fluida |
| 11 | Manga de la bola |
Los cartuchos de bolas para grifos de cocina funcionan de la siguiente manera:
- Una bola hueca ubicada dentro del dispositivo tiene dos orificios diseñados para la entrada de agua caliente y fría, y uno para la liberación ya está mezclado.
- Una varilla reguladora también está conectada a ella, mientras se mueve, las aberturas de la bola se desplazan.
- Las manipulaciones con la palanca le permiten reducir y aumentar las tres corrientes, lo que permite que el fluido dentro de la bola se mezcle en diferentes proporciones y salga con diferente intensidad.
Como puede ver, el funcionamiento del mecanismo de bola es muy simple.
Estructura del cartucho de disco

| Designación en la figura. | Nombre |
| 1 | Varilla de ajuste |
| 2 | Tornillo |
| 3 | Junta de estanqueidad |
| 4 | Disco ceramico |
| 5 | Cabeza de la acción |
| 6 | Entrada de agua |
| 7 | Manga |
El cartucho de disco de una cabina de ducha o mezclador de equipo de cocina es ligeramente diferente en su funcionamiento del modelo de bola anterior.
Aquí, el agua fría y caliente fluye a través de las entradas, y luego cuando se mueve la palanca, el disco de cerámica superior se mueve en relación con el inferior, lo que produce varios efectos en la salida de la estructura:
- La densa coincidencia de los orificios y los bordes de los discos lleva a una superposición completa del flujo de agua, es decir, el grifo se cierra.
- La inmersión de un elemento de disco en otro regula la fuerza de la cabeza saliente.
- La superposición de agua caliente y fría por el disco superior establece la temperatura del líquido en diferentes niveles en un grado diferente.
Diferencias técnicas de los cartuchos de disco.
Como ya hemos mencionado, los más comunes son los cartuchos de plástico con dos discos de cerámica en su interior.
Entre ellos, difieren en los siguientes parámetros:
- Por diametro. Puede encontrar cartuchos con diámetros de 25 mm a 45 mm, pero los más utilizados son los productos de cuarenta milímetros con marcas d40. Cabe destacar que este parámetro no tiene un impacto serio en el rendimiento, se trata de la forma y las dimensiones del mezclador en sí.

- Asiento. Independientemente del diámetro, puede ser completamente diferente para cada fabricante, y el precio no cambia.
Consejo: antes de elegir un cartucho nuevo, compárelo con el anterior, para no equivocarse con el asiento.

- La longitud de la varilla reguladora.. Nuevamente, este indicador depende completamente de las características del modelo de la grúa, o más bien de su palanca.

Reemplazo
Eso es lo que cuesta el cartucho en el mezclador, en cualquier caso, es un valor insignificante en comparación con todo el grifo. Por lo tanto, es económicamente rentable y factible llevar a cabo la sustitución periódica de este elemento utilizando nuestros propios recursos sin llamar a un plomero.
Consejo: si desea prolongar la vida útil del dispositivo de mezcla de agua, instale un filtro adicional para el mezclador del fregadero, que evitará que partículas grandes entren en los discos de cerámica.
Los pasos necesarios para cambiar un producto fallido son los siguientes:
- Apague el flujo de agua caliente y fría. Después de eso, abra la válvula en caso de que una parte del líquido permanezca en ella.
- Retire la tapa decorativa, que cierra el acceso al tornillo de bloqueo. Por lo general, tiene un color azul-rojo, que indica la dirección del mezclador.
- Desenroscamos el tornillo con la llave allen y retiramos el cuerpo de la palanca.

- Retire el anillo decorativo, luego desenrosque la tuerca de presión del mezclador. Intenta no dañar nada mientras lo haces.
- Sacamos el cartucho viejo y ponemos en su lugar uno nuevo. Al mismo tiempo, verifique cuidadosamente la coincidencia de todos los fragmentos de aterrizaje, de lo contrario el mezclador puede fluir más tarde.

- Retire la tuerca de sujeción y el anillo decorativo.
- Ponemos en su lugar la palanca.
- Tornillo en tornillo de fijación hexagonal.
- Devolvemos una gorra decorativa.
- Abra el agua y encienda el mezclador para probar su rendimiento.

El reemplazo completo es fácil de hacer con sus propias manos, si sigue las recomendaciones anteriores.
Conclusión
Los grifos de una sola palanca se pueden encontrar hoy en apartamentos, casas y baños de edificios públicos. Los elementos principales que son responsables de su funcionamiento adecuado son los cartuchos especiales que realizan directamente la mezcla del agua producida. Son bastante prácticos y sencillos en su dispositivo. Rara vez se rompe, y cuando sucede, se reemplaza fácilmente.

El video en este artículo le proporcionará materiales de estudio adicionales que están directamente relacionados con el tema descrito. La simplicidad del dispositivo garantiza su practicidad.